Planiranje:

Informacije za poručivanje

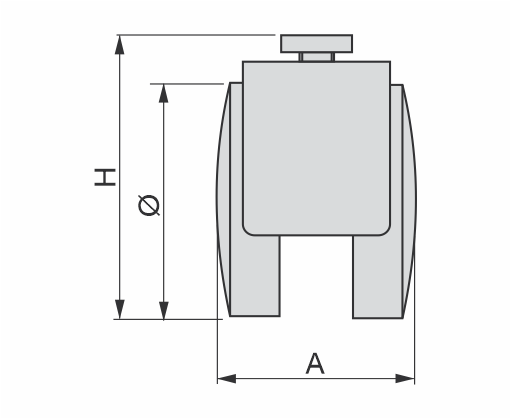
ŠifraFi (mm)H (mm)A (mm)Nosivost (kg)
000775240503830
000775350644445