Planiranje:

Informacije za poručivanje

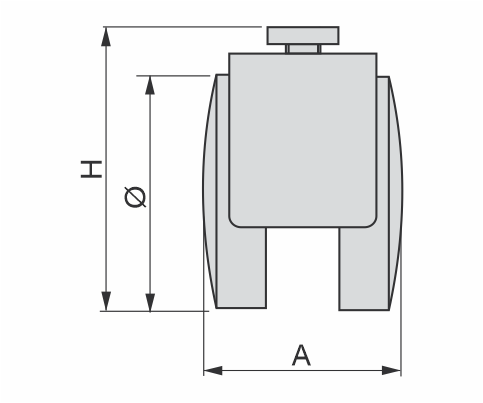
ŠifraFi (mm)H (mm)A (mm)Nosivost (kg)
0007735505653,545
000773650 (SA KOČNICOM)5653,545